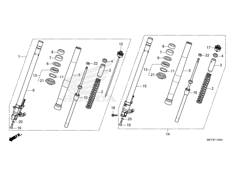
FORK ASSY., L. FR.
Artikelnummer
51500MKTD01
€ 747,99
Levertijd afhankelijk van voorraad leverancier
- Artikel in voorraad? Voor 17:00u besteld, zelfde werkdag verzonden!
- Gratis verzending vanaf €100
- Gratis ophalen in onze winkel

